Huawei News
Honor trademarks new X1, X2, X3, X4,X7, X8, X9 names
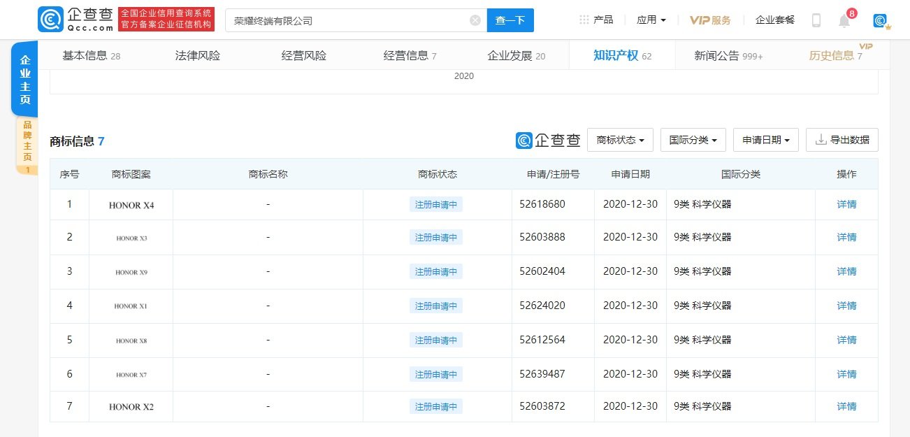
According to the latest information, the enterprise search App showed that Honor Terminal Co., Ltd. applied for the registration of the trademark for the new HONOR X series on December 30.
Honor’s new X series Devices Name:
- HONOR X1
- HONOR X2
- HONOR X3
- HONOR X4
- HONOR X7
- HONOR X8
- HONOR X9
All these trademark applications are filed to safeguard the names and it not necessary that Honor will launch all these devices soon.
Recently, Huawei sold its Honor brand Shenzhen Zhixin New Information Technology Co., Ltd. was jointly invested and established by Shenzhen Smart City Technology Development Group and more than 30 Honor agents and distributors.
A number of companies issued a joint statement in the “Shenzhen Special Zone Daily” that Shenzhen Zhixin New Information Technology Co., Ltd. has signed an acquisition agreement with Huawei Investment Holdings Co., Ltd. Comprehensive acquisition of business assets. After the sale, Huawei no longer holds any shares in the new glory company.
About the history concern, the Honor brand was released in December 2013, mainly for young people. The mobile phone products are divided into four series: V series, HONOR series, X series, and Play series.
(Via)
Huawei News
Huawei Mate 70 Air shows up in a promotional photo
Huawei is getting ready to release a new super-thin phone called the Mate 70 Air. Some details about this phone have already been leaked online, and now a new picture has appeared showing what it looks like.
What the phone looks like
A promotional poster for the Huawei Mate 70 Air was leaked today. The phone looks similar to other phones in Huawei’s Mate 70 family, but it’s much thinner.
The back of the phone has a round camera area with Huawei’s XMAGE camera logo on it. The edges of the phone appear to be shiny and polished. The back cover has a textured surface, similar to another Huawei model called the Mate 70 Pro+.
What’s inside the phone
There isn’t much information available yet, but the Mate 70 Air might be a mid-priced phone. Early reports said it would have 12GB of memory and either 256GB or 512GB of storage space. However, newer information suggests it will actually have 16GB of memory.
The phone is expected to have a large 6.9-inch screen. It will also have a high-quality main camera.
Other features
Unlike Apple’s iPhone Air, the Huawei Mate 70 Air will have a slot for a physical SIM card. The phone will run on Huawei’s HarmonyOS 5.1 software. It will come in three colors: black, white, and gold.
Huawei is expected to launch this phone in November, around the same time as its Mate 80 series.
Huawei News
Huawei Mate 80 series latest Information
Tipster Digital Chat Station has confirmed that the Chinese tech giant Huawei will release new phones called the Mate 80 series in November. These new phones will have better designs, cameras, and speed.
The company is expected to compete with Apple’s new iPhone 17 phones. Huawei will make four different Mate 80 phones: the regular Mate 80, Mate 80 Pro, Mate 80 Pro+, and Mate 80 RS. Each phone will have different cameras. The regular Mate 80 will have a 50-megapixel camera.
The Pro version will have a bigger 50-megapixel camera. The Pro+ and RS models will have even bigger 50-megapixel cameras.
The Pro model might have a flat screen and face recognition. The Pro+ and RS models might have curved screens that bend more.
The best phone, the Mate 80 RS, might have a 6.9-inch screen with special technology.
This screen should be brighter, use less battery power, and last longer than normal phone screens. Huawei might also use strong titanium metal for the frame and special glass on the back. Inside the phones, there will be a new chip called the Kirin 9030. The battery might be bigger than 6000mAh and charge very fast – 100W with a wire and 80W without wires. The phones might work with 5G internet and satellite communication.
The phones will use Huawei’s own software called HarmonyOS. This might work better with other Huawei devices and have more AI features. Some people think these improvements will help Huawei compete better with Apple, especially in battery life, communication, and smart features.
Huawei News
Huawei’s Xu Zhijun steps down as chairman
A Chinese company called HiSilicon Semiconductor just changed who’s in charge. The old boss, Xu Zhijun, stepped down from his job as the legal representative and chairman. Now the company’s CEO, Gao Ji, is taking over these roles.
Xu has been working at Huawei since 1993 and still has other important jobs there – he’s a vice chairman and sometimes serves as the rotating chairman. Him leaving this position is probably just Huawei moving people around to different jobs within the company.
HiSilicon is completely owned by Huawei and makes computer chips. This change in leadership might mean Huawei is trying to make things work better.
HiSilicon started in October 2004 when Huawei took its computer chip design team and turned it into its own company. The main office is in Shenzhen, but they also have offices in Beijing, Shanghai, and other cities in China.
