Huawei News6 years ago
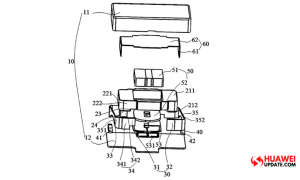
Huawei applied for a patent for a Vibrator Motor and Electronic Equipment
According to the information, the Chinese tech giant Huawei Technologies Co., Ltd. applied for a patent for “A Vibration Motor and Electronic Equipment” on April 30,...