Huawei News5 years ago
Huawei publishes a patent for Roof Adjustment System
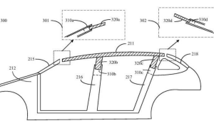
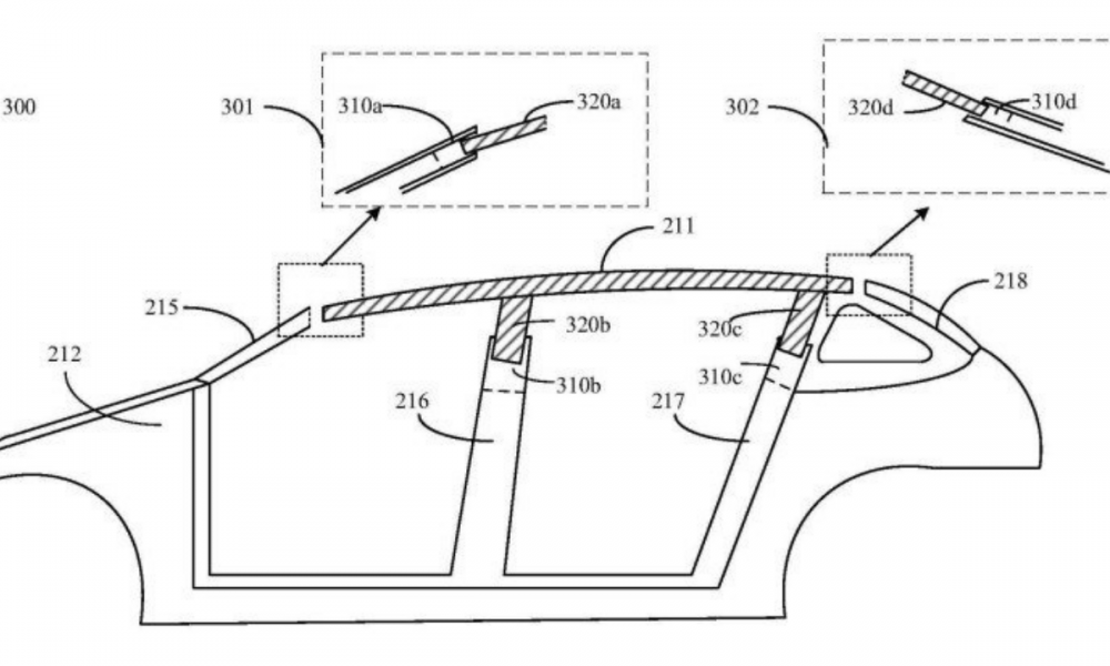
Huawei has recently published a patent for “Roof Adjustment System, Vehicle Body, Vehicle, Roof Adjustment Method and Device”, the publication number is CN113043819A. According to the...