Connect with us

Huawei News

Huawei published a patent for a chip stacking package and terminal equipment

picture-1

Published

on

chip stacking package and terminal equipment patent Huawei

Huawei has officially disclosed a patent for a chip stacking package and terminal equipment to solve the problem of high cost caused by the use of through-silicon via technology.

Huawei published a chip-related patent on April 5, with the publication number CN114287057A. The patent details show that this is a chip stacking package and terminal equipment, involving the field of semiconductor technology, which can solve the problem of high cost caused by the use of through-silicon via technology while ensuring the power supply demand.

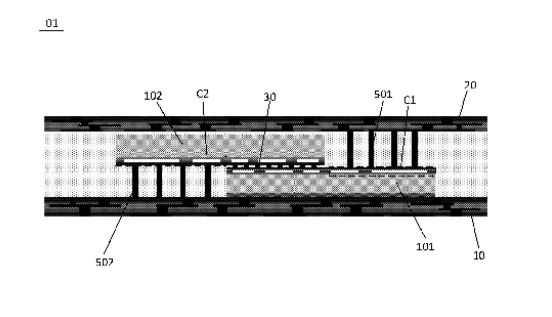
The patent documents show that the chip stack package (01) includes:

Advertisement

A first chip (101) and a second chip (102) disposed between the first wiring structure (10) and the second wiring structure (20);

The active surface (S1) of the first chip (101) faces the active surface (S2) of the second chip (102);

The active surface (S1) of the first chip (101) includes a first overlapping area (A1) and a first non-overlapping area (C1), and the active surface (S2) of the second chip (102) includes a second overlapping area (C1) an overlapping area (A2) and a second non-overlapping area (C2);

Advertisement

The first overlapping area (A1) overlaps the second overlapping area (A2), and the first overlapping area (A1) and the second overlapping area (A2) are connected;

The first non-overlapping region (C1) is connected with the second wiring structure (20);

The second non-overlapping region (C2) is connected with the first wiring structure (10).

Advertisement

chip stacking package Huawei Huawei chip stacking package

Huawei News

Huawei Mate 70 Air shows up in a promotional photo

picture-1

Published

on

By

Huawei Mate 70 Air

Huawei is getting ready to release a new super-thin phone called the Mate 70 Air. Some details about this phone have already been leaked online, and now a new picture has appeared showing what it looks like.

What the phone looks like

A promotional poster for the Huawei Mate 70 Air was leaked today. The phone looks similar to other phones in Huawei’s Mate 70 family, but it’s much thinner.

The back of the phone has a round camera area with Huawei’s XMAGE camera logo on it. The edges of the phone appear to be shiny and polished. The back cover has a textured surface, similar to another Huawei model called the Mate 70 Pro+.
What’s inside the phone

Advertisement

There isn’t much information available yet, but the Mate 70 Air might be a mid-priced phone. Early reports said it would have 12GB of memory and either 256GB or 512GB of storage space. However, newer information suggests it will actually have 16GB of memory.
The phone is expected to have a large 6.9-inch screen. It will also have a high-quality main camera.

Other features

Unlike Apple’s iPhone Air, the Huawei Mate 70 Air will have a slot for a physical SIM card. The phone will run on Huawei’s HarmonyOS 5.1 software. It will come in three colors: black, white, and gold.
Huawei is expected to launch this phone in November, around the same time as its Mate 80 series.

Advertisement
Continue Reading

Huawei News

Huawei Mate 80 series latest Information

picture-1

Published

on

By

Huawei Mate 80 series

Tipster Digital Chat Station has confirmed that the Chinese tech giant Huawei will release new phones called the Mate 80 series in November. These new phones will have better designs, cameras, and speed.

The company is expected to compete with Apple’s new iPhone 17 phones. Huawei will make four different Mate 80 phones: the regular Mate 80, Mate 80 Pro, Mate 80 Pro+, and Mate 80 RS. Each phone will have different cameras. The regular Mate 80 will have a 50-megapixel camera.

The Pro version will have a bigger 50-megapixel camera. The Pro+ and RS models will have even bigger 50-megapixel cameras.
The Pro model might have a flat screen and face recognition. The Pro+ and RS models might have curved screens that bend more.
The best phone, the Mate 80 RS, might have a 6.9-inch screen with special technology.

Advertisement

This screen should be brighter, use less battery power, and last longer than normal phone screens. Huawei might also use strong titanium metal for the frame and special glass on the back. Inside the phones, there will be a new chip called the Kirin 9030. The battery might be bigger than 6000mAh and charge very fast – 100W with a wire and 80W without wires. The phones might work with 5G internet and satellite communication.

The phones will use Huawei’s own software called HarmonyOS. This might work better with other Huawei devices and have more AI features. Some people think these improvements will help Huawei compete better with Apple, especially in battery life, communication, and smart features.

Advertisement
Continue Reading

Huawei News

Huawei’s Xu Zhijun steps down as chairman

picture-1

Published

on

By

Huawei HiSilicon

A Chinese company called HiSilicon Semiconductor just changed who’s in charge. The old boss, Xu Zhijun, stepped down from his job as the legal representative and chairman. Now the company’s CEO, Gao Ji, is taking over these roles.

Xu has been working at Huawei since 1993 and still has other important jobs there – he’s a vice chairman and sometimes serves as the rotating chairman. Him leaving this position is probably just Huawei moving people around to different jobs within the company.
HiSilicon is completely owned by Huawei and makes computer chips. This change in leadership might mean Huawei is trying to make things work better.

HiSilicon started in October 2004 when Huawei took its computer chip design team and turned it into its own company. The main office is in Shenzhen, but they also have offices in Beijing, Shanghai, and other cities in China.

Advertisement
Continue Reading

Most Popular